建筑题库 > 正文

某城市桥梁工程,采用钻孔灌注桩基础,梁体为现浇预应力钢筋混凝

2019-01-10来源: 建设工程教育网

  背景资料:

  某城市桥梁工程,采用钻孔灌注桩基础,梁体为现浇预应力钢筋混凝土箱梁,0号块采用墩顶混凝土现浇施工,临时固结构造示意图和成孔钻机如下图。

  

某城市桥梁工程,采用钻孔灌注桩基础,梁体为现浇预应力钢筋混凝

 

  

某城市桥梁工程,采用钻孔灌注桩基础,梁体为现浇预应力钢筋混凝

 

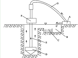
  图7 钻孔泥浆循环系统示意图

  施工中发生如下事件:

  事件一:1号桩桩身混凝土灌注时,导管埋深保持在0.5~1.0m左右。灌注过程中,拔管指挥人员因故离开现场。后经检测表明1#桩出现断桩。

  事件二:项目部新购买了一套性能较好、随机合格证齐全的张拉设备,并立即投入使用。

  事件三:为加强质量管理,项目部对挂篮施工等特殊工序缺少经验,因此设置了工序质量控制点;编制了专门的作业指导书。

  事件四:项目部编制的合龙段施工方案如下:

  (1)预应力混凝土连续梁合龙顺序一般是先中跨、后次跨、再边跨。

  (2)合龙前应按设计规定,将两悬臂端合龙口予以临时连接,并将合龙跨一侧墩的临时锚固放松或改成活动支座。

  (3)合龙宜在一天中正午时分进行。

  (4)梁跨体系转换时,支座反力的调整应以反力为主。

  事件五:桥墩高度平均为20m,墩顶0号块采用支架法浇筑。张拉0号块预应力钢绞线时,操作平台临边外侧下方是城市主干路,施工人员设置了防护栏杆,人员随运载钢筋的物料提升机上下。

  本题知识点:市政公用工程项目施工管理,

  1) 写出图6中A、B、C结构的名称。

  【正确答案】 A为临时锚固钢筋(或钢绞线);

  B为临时支座;

  C为支座垫石(或支座垫块)。

  【答案解析】

  本题知识点:市政公用工程项目施工管理,

  2) 写出图7中设备或设施A、B、C的名称与该回旋钻机的类型。

  【正确答案】 A泥浆泵,B泥浆槽(池),C沉淀池。该回旋钻机属于正循环回旋钻机。

  【答案解析】

  本题知识点:市政公用工程项目施工管理,

  3) 指出背景中桩身混凝土灌注过程的错误之处,并改正。

  【正确答案】 (1)拔管指挥人员离开现场是错误的,

  正确的做法是:拔管应有专人负责指挥。

  (2)导管埋深保持在0.5~1.0m错误,

  正确的做法是:导管埋置深度宜控制在2~6m,并经常测探井孔内混凝土面的位置,及时调整导管埋深。

  【答案解析】

  本题知识点:市政公用工程项目施工管理,

  4) 施工单位在张拉设备的使用上是否正确?说明理由。

  【正确答案】 不正确,因为张拉机具应与锚具配套校准,配套使用。

  【答案解析】

  本题知识点:市政公用工程项目施工管理,

  5) 补充项目部特殊过程质量管理措施。

  【正确答案】 安排试验,并首件验收,作业指导书经项目部或企业技术负责人审批后执行。

  【答案解析】

  本题知识点:市政公用工程项目施工管理,

  6) 改正事件4中项目部编制方案的错误之处。

  【正确答案】 (1)合龙顺序为先边跨、后次跨,再中跨。

  (2)合龙宜在一天中气温最低时段进行。

  (3)梁跨体系转换时,支座反力的调整应以高程控制为主,反力作为校核。

  【答案解析】

  本题知识点:市政公用工程项目施工管理,

  7) 操作平台临边外侧下方是城市主干道时,敞口立面必须如何处理才能满足高处安全作业相关要求?人员随运载钢筋的物料提升机上下是否符合高处作业的规定?说明理由。

查看答案解析

  【正确答案】 敞口立面必须设置安全立网做全封闭处理,并设置限高、限宽、限速的安全标示牌和防撞设施。

  人员随运载钢筋的物料提升机上下不符合高处作业规定,因为高处必须设置供作业人员上下的安全通道和扶梯。

  【答案解析】

  本题知识点:市政公用工程项目施工管理,

2019二级造价高效取证方案
分享到:
阅读下一篇
沥青混合料面层初压宜采用的压路机是( )。
2019年一建报考常见问题

2019年二建报名条件}} 选课

选课中心

试听

免费试听

题库

试题中心

指南

报考指南

名师

网校名师

招生

招生方案

动态

考试动态

微信

消防微信


取消
复制链接,粘贴给您的好友

复制链接,在微信、QQ等聊天窗口即可将此信息分享给朋友